
Chinese manufacturer Flashforge has filed a patent for a novel tool changer system designed to significantly reduce material waste in multi-color or multi-material 3D printing. The document, designated WO2025218590, describes an FFF system with multiple interchangeable tool heads that are mechanically rather than electrically coupled.
Conventional FFF printers with filament changes often generate large amounts of plastic waste, as material residues have to be flushed out when changing colors or materials. Tool changer concepts circumvent this problem by using multiple print heads in parallel. Systems of this type are already known from Prusa Research (XL series) and Snapmaker (U1). Flashforge now appears to be developing its own, technically simplified version.
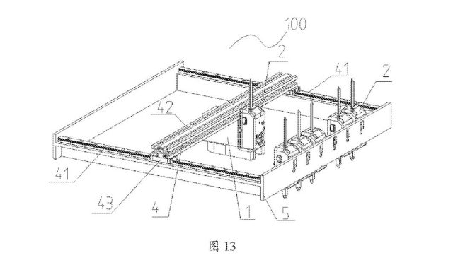
According to patent documents, the design consists of a movable tool holder that travels on the XY axis and picks up one of several parked print heads as needed. Each tool head contains only the mechanical drive and the hot end area, while motors, sensors, and control electronics remain in the movable holder. This keeps the tools light and inexpensive, which speeds up changeovers and makes the overall structure more stable.
The connection is made via a mechanical coupling with a form-fit lock. Magnetic holding points and guide pins ensure that the tools can be parked precisely. Since no electrical contacts are required in the tool itself, the complexity of the system is reduced. A base platform shown in the patent drawings can accommodate up to six tools, indicating a potential expansion for complex multi-material applications.
With this concept, Flashforge could compete directly with systems such as Bambu Lab’s Vortek approach or Bondtech’s INDX system in the future.
Subscribe to our Newsletter
3DPresso is a weekly newsletter that links to the most exciting global stories from the 3D printing and additive manufacturing industry.




















